4.19. Интеграторы
На основе операционных усилителей можно строить почти идеальные интеграторы на которые не распространяется ограничение Uвых « Uвх. На рис. 4.47 показана такая схема. Входной ток Uвх/R протекает через конденсатор С. В связи с тем что инвертирующий вход имеет потенциальное заземление, выходное напряжение определяется следующим образом:
Uвх/R = - C(dUвх/dt) или Uвх = 1/RC ∫Uвхdt + const.
Безусловно, входным сигналом может быть и ток, в этом случае резистор R не нужен. Представленной здесь схеме присущ один недостаток, связанный с тем, что выходное напряжение имеет тенденцию к дрейфу, обусловленному сдвигами ОУ и током смещения (обратной связи по постоянному току, которая нарушает правило 3 из разд. 4.08, здесь нет). Это нежелательное явление можно ослабить, если использовать ОУ на полевых транзисторах, отрегулировать входное напряжение сдвига ОУ и выбрать большие величины для R и С. Кроме того, на практике часто прибегают к периодическому сбросу в нуль интегратора с помощью подключенного к конденсатору переключателя (обычно на полевом транзисторе), поэтому играет роль только кратковременный дрейф. В качестве примера рассмотрим интегратор, в котором использован ОУ на полевых транзисторах типа LF411 (ток смещения составляет 25 пА), настроенный на нуль (напряжение сдвига составляет не более 0,2 мВ). Резистор и конденсатор выбраны так: R = 10 МОм и С = 10 мкФ; для такой схемы дрейф не превышает 0,005 В за 1000 с.

Рис. 4.47. Интегратор
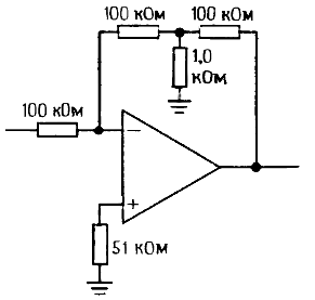
Если остаточный дрейф по-прежнему слишком велик для конкретного случая использования интегратора, то к конденсатору С следует подключить большой резистор R2, который обеспечит стабильное смещение за счет обратной связи по постоянному току. Такое подключение приведет к ослаблению интегрирующих свойств на очень низкой частоте: ƒ < 1/R2C. На рис. 4.48 показаны интеграторы, в которых использованы переключатели для сброса на полевых транзисторах и резистор стабилизации смешения. В схемах такого типа может потребоваться резистор обратной связи с очень большим сопротивлением. На рис. 4.49 показан прием, с помощью которого большое эффективное значение сопротивления обратной связи создается за счет резисторов с относительно небольшими сопротивлениями. Представленная цепь обратной связи работает как один резистор с сопротивлением 10 МОм в стандартной схеме инвертирующего усилителя с коэффициентом усиления по напряжению, равным - 100. Достоинство этой схемы состоит в том, что она позволяет использовать удобные сопротивления резисторов и не создает опасности из-за влияния паразитной емкости, которую всегда нужно учитывать при работе с большими резисторами. Отметим, что в схеме идеального преобразователя тока в напряжение (разд. 4.09) описанный выше прием может привести к увеличению эффективного входного напряжения сдвига. Например, если схема, показанная на рис. 4.49, подключена к источнику с большим импедансом (скажем, на вход поступает ток от фотодиода и входной резистор опущен), то выходной сдвиг будет в 100 раз превышать Uсдв. Если в той же схеме есть резистор обратной связи величиной 10 МОм, то выходное напряжение равно Uсдв (сдвигом, обусловленным входным током, можно пренебречь).

Рис. 4.48. Интеграторы на основе ОУ с переключателями для сброса.

Рис. 4.49.
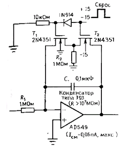
Схемная компенсация утечки полевого транзистора. Рассмотрим интегратор с переключателем на полевом транзисторе (рис. 4.48). Ток утечки перехода сток-исток протекает через суммирующий переход даже в том случае, когда полевой транзистор находится в состоянии ВЫКЛ. Эта ошибка может быть преобладающей в интеграторе в случае использования операционного усилителя с очень малым входным током и конденсатора с небольшой утечкой. Например, превосходный «электрометрический» ОУ типа AD549 со входами на полевых транзисторах обладает входным током величиной 0,06 пА (максимум), а высококачественный металлизированный тефлоновый или полистироловый конденсатор емкостью 0,01 мкФ обладает сопротивлением утечки величиной 107 МОм (минимум). При таких условиях интегратор, без учета схемы сброса, поддерживает на суммирующем переходе прямой ток величиной ниже 1 пА (для худшего случая, когда выходной сигнал составляет 10 В двойной амплитуды), что соответствует величине изменения dU/dt на выходе, равной 0,01 мВ с. Для сравнения посмотрите, чему равна утечка такого популярного МОП - транзистора, как например 2N4351 (в режиме обогащения). При Uист-сток = 10 В и Uист-затв = 0 В максимальный ток утечки равен 10 нА. Иными словами, утечка полевого транзистора в 10000 раз больше, чем утечка всех остальных элементов, взятых вместе.
На рис. 4.50 показано интересное схемное решение оба n- канальных МОП - транзистора переключаются вместе, однако транзистор Т1 переключается тогда, когда напряжение на затворе равно нулю и + 15 В, при этом в состоянии ВЫКЛ (напряжение на затворе равно нулю) утечка затвора (а также утечка перехода сток-исток) полностью исключается. В состоянии ВКЛ конденсатор как и прежде, разряжается, но при удвоенном Rвкл. В состоянии ВЫКЛ небольшой ток утечки транзистора Т2 через резистор R2 стекает на землю, создавая пренебрежимо малое падение напряжения. Через суммирующий переход ток утечки не протекает. Так как к истоку стоку и подложке транзистора Т1 приложено одно и тоже напряжение. Сравните эту схему со схемой пикового детектора с нулевой утечкой, приведенной на рис. 4. 40.

Рис. 4.50.
Работа ОУ с одним источником питания