4.36. Некоторые полезные идеи
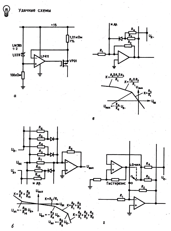
На рис. 4.94 показано несколько интересных и удачных схем, заимствованных в основном из технической документации фирм - изготовителей.

Рис. 4.94. а - прецизнонный источник тока с использованием полевого МОП - транзистора; б - инвертирующий усилитель с ломаной характеристикой: коэффициент усиления К увеличивается для входных сигналов превышающих пороговое значение; в формулах пороговых значении предполагается, что Uдиод = 0 пороговое напряжение должно быть > 0,5 В; в - аналогично б, но коэффициент усиления для выходных напряжений выше порогового значения; г - аналогично в, но с компаратором и переключателем, работает как «совершенный» диод (Uд = 0);

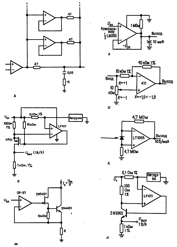
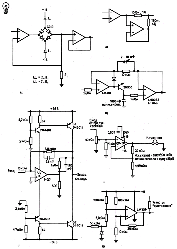
Рис. 4.94 (продолжение). д - благодаря дополнительным ОУ выходной ток увеличен: следите, чтобы не было перегрева: е - токов монитор; ж - прецизионная схема, поглощающая ток: з - пиковый детектор для отрицательных импульсов; и -схема с переменным коэффициентом усиления; к - усилитель с фотодиодом; л - схема управления токоь;

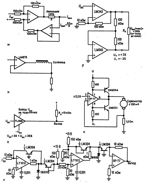
Рис. 4.94 (продолжение). м - прецизионный биполярный источник тока; н - активный соленоид; о - оригинальный повторитель на полевом транзисторе с 3 выводами; п - логарифмический преобразователь с температурной компенсацией; р - высоковольтная (мостовая) схема для плавающей нагрузки; г - сервоусилитель 0,2 А;

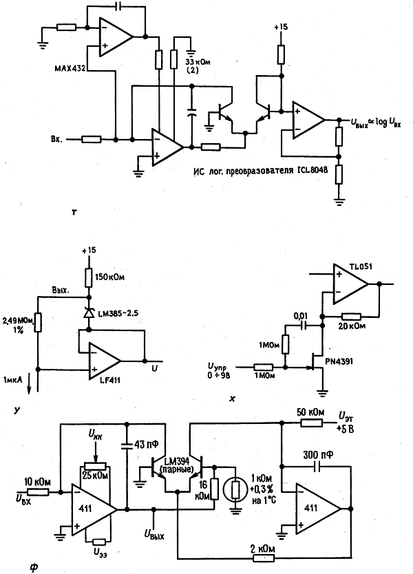
Рис. 4.94 (продолжение). т - логарифмический преобразователь с широким входным диапазоном и автоматическим обнулением на основе усилителя прерывателя; у - источник тока; ф - быстродействующий логарифмический преобразователь; х - усилитель с переменным усилением с небольшими искажениями;

Рис. 4.94 (продолжение). я - источник тока Хауленда для управляющих схем преобразования напряжений в ток (от 1 мкА до 1 мА); А - управляемый напряжением усилитель - преобразователь с линеаризованной характеристикой; Б - управляемый напряжением (переменного тока) нагрузочный резистор; В - управляемый напряжением генераторор основе усилителя - преобразователя.