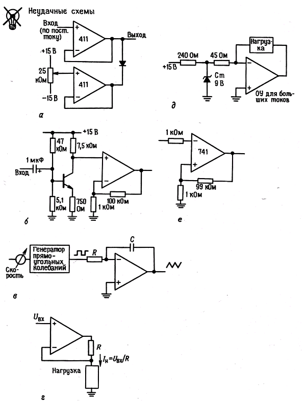
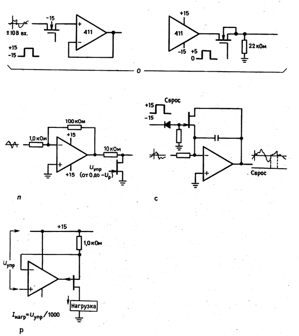
4.37. Негодные схемы
На рис. 4.95 представлена целая коллекция схем, содержащих заведомые ошибки. Пусть они немного вас позабавят и предостерегут от возможных промахов в работе. Среди них есть несколько настоящих чудищ. Можно гарантировать, что они никогда не будут работать. азберитесь, почему. Во всех операционных усилителях используются источники питания ± 15 В: если используются другие напряжения питания, то они указаны на схемах.

Рис. 4.95. а - регулируемый ограничитель; б - выходной каскад на ОУ для усилителя звуковых частот со 100-кратным имением; в - генератор треугольного сигнала; г - источник тока (программируемый напряжением); д – источник тока на 200 мА; е - усилитель постоянного тока (100-кратный);

Рис. 4.95 (продолжение). ж – усилитель звуковой частоты со 100-кратным усилением и однополярным питанием; з – стабилизатор на 15 В; и – операционный усилитель в качестве стабилизатора + 15В; к – триггер Шлитта; л – 10 – кратный усилитель со связями по переменному току; м – усилитель постоянного тока с усилением (x10 - x100); н – детектор нуля;

Рис. 4.95 (продолжение). о – операционный усилитель с переключателями; п – управление коэффициентом усиления с помощью полевого транзистора; р – источник тока; с интегратор со сбросом.