5.16. Квадратные генераторы
Время от времени возникает потребность в генераторах, которые формируют одновременно пару одинаковых по амплитуде колебаний синусоидальной формы, но сдвинутых по фазе на 90°. Эту пару сигналов можно рассматривать как синусоидальное и косинусоидальное колебания, мы же будем придерживаться термина квадратурная пара сигналов (сигналы «в квадратуре»). Наиболее важны такие сигналы в радиосвязи квадратурные смесители, схемы формирования однополосных сигналов). Кроме того, дальше будет показано, что такая квадратурная пара сигналов всегда необходима для формирования сигнала с любой произвольной фазой.
Первая мысль, которая сразу возникает, - это как подавать сигнал синусоидальной формы на интегратор (или дифференциатор), чтобы на его выходе появился сдвинутый на 90° сигнал косинусоидальной формы. При этом сигнал имеет правильный фазовый сдвиг, но его амплитуда испорчена (поймите почему). Далее предлагаются некоторые способы решения этой задачи.
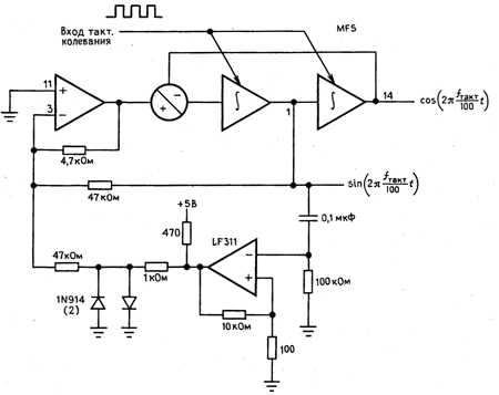
Резонатор на переключаемых конденсаторах. На рис. 5.38 показан способ пользования ИС фильтра на переключаемых конденсаторах MF5 в режиме самовозбуждающегося полосового фильтра. который формирует пару квадратурных сигналов синусоидальной формы. Наиболее простой способ понять ее работу - это предположить, что на выходе уже присутствует сигнал синусоидальной формы; далее компаратор преобразует его в прямоугольное колебание с небольшой амплитудой (падение напряжения на одном диоде) - которое снова подается на вход фильтра. Фильтр обладает узкой полосой пропускания (Q = 10) так что он преобразует прямоугольное колебание в выходной синусоидальный сигнал и таким образом поддерживается генерация. Входное прямоугольное колебание тактовой частоты (такт) задает пентральную частоту полосы пропускания, следовательно, сама частота генерации в этом случае составит ƒтакт/100. Эта схема пригодна для работы в диапазоне частот от нескольких герц до приблизительно 10 кГц и формирует вадратурную пару синусоидальных сигналов с равными амплитудами. Следует отметить, что эта схема дает «ступенчатую» аппроксимацию синусоидальной формы выходного сигнала вследствие того, что переключаемый фильтр дает квантованный выходной сигнал.

Рис. 5.38. Квадратурный генератор на переключаемых конденсаторах.
Генератор колебаний специальной формы (аналоговые тригонометрические функции). Фирма Analog Devices изготовляет интересную нелинейную «функциональную ИС», которая преобразует входное напряжение в выходной сигнал, пропорциональный sin(AUвх), где коэффициент усиления А имеет фиксированное значение, равное 50°/В. Как правило, этот кристалл (AD639) может на самом деле выполнять гораздо больше функций. Он вырабатывает четыре выходных сигнала, называемые Х1, Х2, Y1 и Y2, и формирует выходной сигнал, напряжение которого определяется следующим образом: Uвых = sin(X1 - X2)/sin(Y1 - Y2). Таким образом, если например, установить Х1 = Y1 = 90° (т.е. +1,8 В), Y2 = 0 (закоротка на «землю»), а входное напряжение подавать на вход Х2, то вырабатывается сигнал вида cos(Х2).
Упражнение 5.10. Докажите последнее утверждение.
У схемы AD639 имеется также выход прецизионного опорного напряжения +1.8В, что существенно облегчает ее применение. Следовательно, если на пару ИС AD639 подать треугольное колебание с амплитудой 1,8В, то можно получить пару квадратурных сигналов синусоидальной формы, как это показано на рис. 5.39. Рабочий диапазон частот этой ИС лежит в пределах от постоянного тока до приблизительно 1 МГц.

Рис. 5.39. Генератор тригонометрических функций.
Просмотровая таблица (поиск элементов при помощи просмотра). Это цифровая методика, которую вы полностью освоите только после изучения гл. 9. Основная идея состоит в том, чтобы запрограммировать цифровую память большого объема цифровыми значениями (выборками) синуса и косинуса, аргументы которых выбираются через равноотстоящие угловые промежутки (скажем, через 1). Тогда, быстро последовательно перебирая адреса этой памяти, можно получить колебание синусоидальной формы, для этого считанные из памяти по каждому адресу цифровые значения (т е. для последовательности угловых аргументов) подаются на пару цифро-аналоговых преобразователей (ЦАП).
Этот метод имеет следующие недостатаки. Как и в случае резонатора на переключаемых конденсаторах выходной сигнал имеет ступенчатую форму, поскольку он формируется из набора дискретных напряжений, по одному на содержимое каждой ячейки памяти. Можно, конечно, для сглаживания выходного сигнала поставить фильтр нижних частот, но, делая это, нельзя перекрыть широкий диапазон частот поскольку нужно выбирать такой фильтр нижних частот, чтобы он пропускал само синусоидальное колебание и в то же время подавлял более высокую частоту выборки (такая же проблема характерна и для резонатора на переключаемых конденсаторах). В этом случае помогает сокращение углового интервала между соседними значениями, но тогда соответственно снижается максимальная частота вырабатываемого выходного колебания. При использовании стандартных ЦАП с временем преобразования не более одной микросекунды, можно получить синусоидальные сигналы с частотами вплоть до нескольких десятков килогерц, полагая, что шаг углового аргумента составляет порядка одного градуса. Для самих же ЦАП характерно наличие в момент переключения больших остроконечных выбросов напряжения («кратковременная импульсная помеха»). Эти полноразрядные кратковременные импульсные помехи возникают даже, если переключение происходит между смежными (ближайшими) уровнями выходного напряжения! В гл. 9 будут предложены способы решения этой проблемы. Разрядность имеющихся в распоряжении ЦАП достигает 16 (в этом случае разрешающая способность составляет единицу из 65536 значений).
Генератор на основе метода переменных состояния. Все предложенные ранее методы требуют выполнения некоторой тяжелой работы. К счастью, сотрудники дружественной фирмы Burr-Brown провели эту работу дома и вышли на рынок с моделью 4423, которая представляет собой «прецизионный квадратурный генератор». В нем используется стандартная схема полосового фильтра на основе метода переменных состояния, выполненная на трех ОУ (рис. 5.18), где выходной сигнал через диодный ограничитель подается на вход (см. рис. 5.40). Она предназначена для работы в диапазоне частот от 0,002 Гц до 20 кГц и при этом она демонстрирует высокую стабильность фазового сдвига, амплитуды и частоты (максимально 10-4 1/°С). Схема 4432 является модульной (а не монолитной ИС) и выпускается в 14 - выводном стандартном DIP - корпусе при цене 24 долл. в малых партиях.

Рис. 5.40.
Фильтры на схеме с упорядоченными фазовыми сдвигами. Известны изощренные схемы RС-фильтров, которые обладают способностью при подаче на их вход сигнала синусоидальной формы формировать на выходе пару синусоидальных сигналов, имеющих разность фаз приблизительно 90°. В радиотехнике это называется «фазовым» методом формирования однополосного сигнала (благодаря Weaver), где предназначенный для передачи входной сигнал состоит из сигналов речевого диапазона.
К сожалению, этот метод работает удовлетворительно только в ограниченном диапазоне частот и требует точного подбора номиналов резисторов и конденсаторов. Более приемлемый способ формирования широкополосных квадратурных сигналов основан на использовании «цепи с упорядоченными фазовыми сдвигами», которая представляет собой регулярную структуру, состоящую из резисторов с равными номиналами, а номиналы конденсаторов уменьшаются в геометрической прогрессии, как это указано на рис. 5.41. На вход этой цепи подаются два сигнала, а именно прямой и сдвинутый на 180° (это легко сделать с помощью инвертора с единичным коэффициентом передачи). Выходной сигнал представляет собой набор из четырех квадратурных сигналов и при использовании 6-секционной цепи их погрешность составляет ±0,5° в диапазоне частот 100:1.

Рис. 5.41. Цепь с упорядоченными фазовыми сдвигами.
Квадратурные колебания прямоугольной формы. В некоторых случаях формирование квадратурных сигналов прямоугольной формы является несложной задачей. Основная идея заключается в том, чтобы сформировать сигнал удвоенной частоты, затем поделить его в два раза с помощью цифрового триггера (гл. 8) и декодировать на вентилях (снова гл. 8). Это наиболее совершенный способ формирования квадратурных прямоугольных колебаний в диапазоне частот от постоянного тока до по крайней мере 100 МГц.
Квадратурные сигналы диапазона радиочастот. В диапазоне радиочастот (выше нескольких мегагерц) формирование пары квадратурных сигналов синусоидальной формы снова достаточно тривиальная задача; в этом случае используются приборы, которые называются квадратурными гибридными схемами (или квадратурные расщепитель/объединитель). На низкочастотной границе радиочастотного диапазона (от нескольких мегагерц до, может бить, 1 ГГц) они принимают форму небольших трансформаторов с магнитным сердечником, в то время как на более высоких частотах нужно найти их воплощение в форме полосковых линий передачи (полоски и печатные проводники, изолированные от заземленной подложки) или световодов (полая прямоугольная трубка). Эти вопросы снова будут рассмотрены в гл. 13. Методика достаточно узкополосная, типовая ширина рабочей частоты не превышает октаву (т. е. соотношение частот 2.1).
Формирование синусоидального колебания с произвольной фазой. Поскольку у нас уже имеется пара квадратурных сигналов, достаточно просто сформировать синусоидальное колебание с произвольной фазой. В этом случае требуется просто объявить синфазный (I) и квадратурные сигналы (Q) на резистивном сумматоре, что наиболее просто реализуется с помощью потенциометра, включенного между I и Q сигналами. При вращении движка потенциометра эти сигналы (I и Q) суммируются в различных соотношениях при этом удается получить плавное изменение фазы в диапазоне от 0 до 90°. Если же рассматривать эту проблему с точки зрения векторов, то можно показать, что фаза результирующего колебания совершенно не зависит от частоты; однако его амплитуда при регулировке фазы меняется, спадая на 3 дБ при фазе 45°. Метод достаточно просто можно распространить и на случай формирования колебания, фаза которого должна лежать в диапазоне от 0 до 360°, при этом используются противоположные сигналы (фазовый сдвиг 180°) I’ и Q’ которые получаются с помощью инвертирующих усилителей с коэффициентом передачи -1.