5.20. Удачные схемы
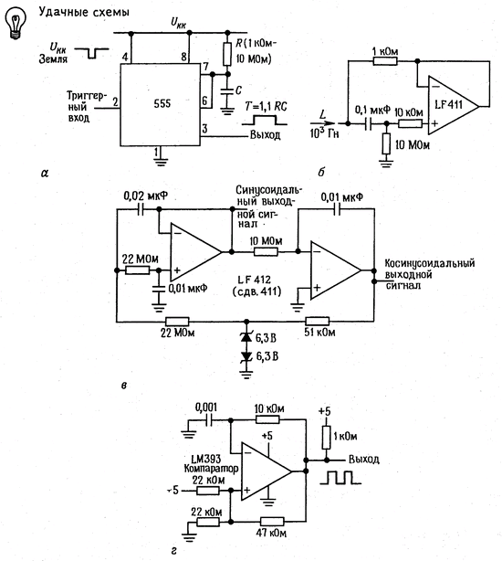
На рис. 5.51 представлен набор удачных схем, большинство из которых взяты из руководств фирм-изготовителей и фирменных руководств по применению.

Рис.5.51. Удачные схемы. а - моностабильный мультивибратор. Длительность входного импульса должна быть меньше, чем у выходного; б - активный имитатор катушки индуктивности; в - квадратурный генератор с частотой 1 Гц; г - релаксационный генератор;

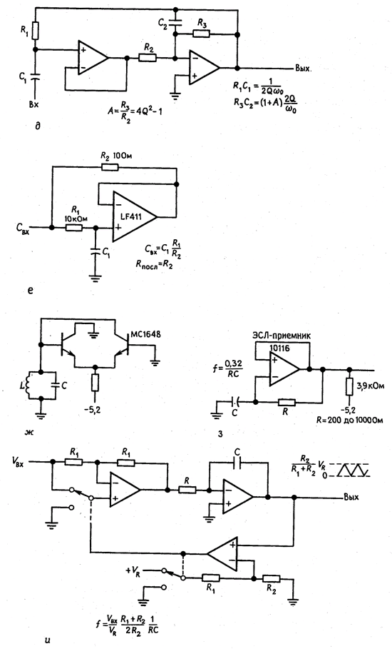
Рис. 5.51 (продолжение). д - резонансный усилитель; работает в диапазоне частот от ƒ0 до ƒт/2Q. Рrос. IEEE 60.908 (1972). е – умножитель емкости; ж - эмиттерно-связанный LC-генератор; з - высокочастотный ЭСЛ-генератор; и – преобразовать напряжение/частота;

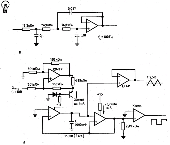
Рис. 5.51 (продолжение). к - фильтр Бесселя нижних частот 3-го порядка; для другого значения частоты среза необходимо провести масштабирование номиналов элементов; л - широкодиапазонный ГУН (2 Гц - 100 кГц) на усилителях с активной проводимостью.