Схемы активных фильтров
Известны очень хитроумные конструкции активных фильтров, каждый из которых используется для того, чтобы в качестве характеристики фильтра получить нужную функцию, как, например, функция Баттерворта, Чебышева и др. Можно спросить: зачем вообще нужно более одной схемы активного фильтра? Причина в том, что каждая схемная реализация является наилучшей в смысле тех или иных желательных свойств, и поэтому «абсолютно лучшей» схемы фильтра не существует.
Некоторые свойства, желательные для схемы активного фильтра, таковы: а) малое число элементов, как активных, так и пассивных; б) легкость регулировки; в) малое влияние разброса параметров элементов, в особенности значений емкостей конденсаторов; г) отсутствие жестких требований к применяемому операционному усилителю, в особенности требований к скорости нарастания, ширине полосы пропускания и полному выходному сопротивлению; д) возможность создания высокодобротных фильтров; е) нечувствительность характеристик фильтра по отношению к параметрам элементов и коэффициенту усиления ОУ (в частности, произведению коэффициента усиления на ширину полосы пропускания, ƒс). По многим причинам последнее свойство является одним из наиболее важных. Фильтр, который требует соблюдения высокой точности значений параметров элементов, трудно настраивать, и по мере старения элементов настройка теряется; кроме того дополнительной неприятностью является требование использовать элементы с малым допуском значений параметров. Схема фильтра на ИНУН (источник напряжения, управляемый напряжением) обязана широкой популярностью в основном своей простоте и малому числу деталей, но эта схема страдает недостатком, а именно высокой чувствительностью к изменениям значения параметров элементов. Для сравнения: недавно возникший интерес к более сложным гиратороподобным схемам вызван их нечувствительностью к малым изменениям параметров элементов.
В этом разделе будет рассмотрено несколько схем для реализации фильтров нижних и верхних частот, а также полосовых фильтров. Начнем же с популярной схемы на ИНУН, или управляемого источника, затем рассмотрим построение фильтров на основе метода переменных состояния, выпускаемых в виде интегральных схем различными фирмами - изготовителями, и наконец, упомянем о двойном Т-образном фильтре с высокимизбирательным подавлением («фильтр - пробка») и о некоторых интересных новых направлениях в области реализации фильтров на переключаемых конденсаторах.
5.06. Схемы на ИНУН
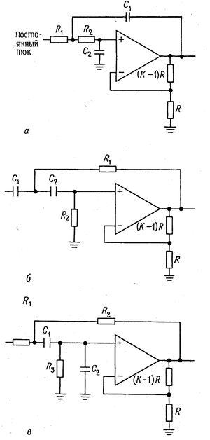
Фильтр на источнике напряжения, управляемом напряжением (ИНУН), известный также просто как фильтр с управляемым источником - это вариант фильтра Саллена и Ки, который был описан выше. В этом случае повторитель с единичным коэффициентом усиления заменен не инвертирующим усилителем с коэффициентом усиления, большим 1. На рис. 5.16 даны схемы для реализации фильтра нижних и верхних частот, а также полосового фильтра. С помощью присоединенных к выходу ОУ резисторов, образован не инвертирующий усилитель напряжения с коэффициентом усиления K, а остальные R и С по-прежнему формируют частотную характеристику фильтра. Как будет показано далее, эти двухполюсные фильтры могут быть фильтрами Баттерворта, Беселя и др. за счет определенного подбора параметров элементов. Любое число двухполюсных секций на ИНУН может быть соединено каскадно для создания фильтров более высокого порядка. В таком соединении отдельные секции, вообще говоря, не идентичны. Действительно, каждая секция соответствует квадратичному сомножителю полинома степени n, описывающего фильтр в целом.

Рис. 5.16. Схемы активных фильтров на ИНУН. a - фильтр нижних частот; б - фильтр верхних частот; в - полосовой фильтр.
В большинстве обычных справочников по фильтрам приведены формулы и таблицы для всех стандартных характеристик фильтров, включая отдельные таблицы для фильтров Чебышева с разными амплитудами пульсаций. В следующем разделе будут представлены удобные в употреблении таблицы для проектирования фильтров на ИНУН типа Баттерворта, Бесселя и Чебышева (фильтр Чебышева с неравномерностью 0,5 и 2 дБ), используемых в качестве фильтров нижних или верхних частот. Полосовой и полосноподавляюший фильтры легко могут быть составлены из их комбинаций.