Cтабилизаторы напряжения и источники питания
6.02. Стабилизатор положительного напряжения
На рис. 6.3 показано, как на базе ИМС 723 построить стабилизатор положительного напряжения. Все необходимые элементы, кроме четырех резисторов и двух конденсаторов, содержатся в самой ИМС. Делитель напряжения R1 R2 задает часть выходного напряжения, сравниваемую с опорным, а элементы ИМС 723 обеспечивают все остальные функции. Такая схема подобна неинвертируюшему усилителю на ОУ с эмиттерным повторителем на выходе, если напряжение Uоп рассматривать в качестве «входного сигнала». Резистор R4 подбирают так, чтобы падение напряжения на нем при максимально необходимом выходном токе было равно - 0,5В, т.е. напряжению Uбэ. Тогда при слишком большом токе это напряжение, приложенное к входам ОТ - ДТ, включит токоограничивающий транзистор (Т16 на схеме 6.2), запирающий проходной транзистор. Конденсатор емкостью 100 пФ добавлен для обеспечения устойчивости при включении обратной связи. Резистор R3 (иногда отсутствует) подбирают так, чтобы на входах дифференциального усилителя было бы одно и то же сопротивление. Это делает выходной сигнал нечувствительным к изменениям базовых токов смещения (например, при изменении температуры), подобно тому как это делалось при включении ОУ (см. разд 4.12).

Рис. 6.3. Стабилизатор на ИМС 723 (Uвых > Uоп).
С помощью этой схемы можно получить любое стабилизированное напряжение питания от Uоп до максимально допустимого уровня 37 В. Входное нестабилизированное напряжение (причем с учетом его колебаний) должно на несколько вольт превышать выходное. Для стабилизатора 723 «перепад напряжения», т.е. величина, на которую подводимое напряжение питания должно превышать стабилизированное напряжение на выходе, должен быть не менее 3 В. Это значение типично и для большинства других стабилизаторов. Резисторы R1 и R2 обычно переменные или подстраиваемые, чтобы можно было точно установить выходное напряжение. Значение Uоп имеет производственный разброс от 6,8 до 7,5 В. Как правило, выход рекомендуется шунтировать конденсатором емкостью в несколько микрофарад, как показано на схеме. Это сохраняет малые значения полного выходного сопротивления и на высоких частотах, при которых обратная связь становится менее эффективной. Лучше всего конденсатор выбрать в соответствии с рекомендацией изготовителя, иначе могут появиться автоколебания. И вообще, неплохо заземлить по переменному току шины питания во всей запитываемой схеме, применяя для этого керамические конденсаторы 0,01 - 0,1 мкФ в сочетании с танталовыми или электролитическими 1 - 10 мкФ.
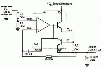
Для выходных напряжений, меньших Uоп, надо просто поставить делитель опорного напряжения (рис. 6.4). Тогда напряжение выхода будет сравниваться с нужной долей опорного напряжения. Параметры схемы рис. 6.4 выбраны с расчетом на получение + 5 В, 50 мА (максимум). С помощью подобных схем можно получать напряжения от +2 В до Uоп. Невозможно снизить выходное напряжение ниже + 2 В, так как дифференциальный усилитель при уровне входного сигнала меньше 2 В работать не будет. Это задано в спецификации изготовителя. Напряжение питания схем не должно падать ниже +9,5 В, т.е. уровня, необходимого для питания.

Рис. 6.4. Стабилизатор на ИМС 723 (Uвых < Uоп).
Третий вариант такой схемы используется, когда надо построить стабилизатор с диапазоном выходного напряжения, содержащим Uоп (т.е. стабилизатор, способный давать значения выходного напряжения и больше, и меньше Uоп). В таких случаях нужно сравнивать часть выходного напряжения с долей опорного напряжения Uоп, которая меньше нижней границы желательного диапазона.
Упражнение 6.1. На основе ИМС 723 спроектируйте стабилизатор, дающий ток нагрузки до 50 мА в диапазоне выходных напряжений от +5 до +10 В.
Указание: сравните часть выходного напряжения с 0,5 Uоп.
Проектирование теплоотвода мощных схем