Cтабилизаторы напряжения и источники питания
6.03. Стабилизаторы с большими выходными токами
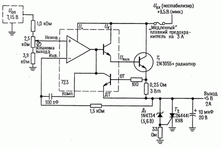
Встроенный проходной транзистор ИМС 723 рассчитан на 150 мА максиму, рассеяние мощности не должно превосходить 1 Вт при 25°С (и менее при более высокой окружающей температуре; этот параметр для ИМС 723 должен быть пересчитан с коэффициентом 8,3 мВт/°С на каждый градус превышения температуры окружающей среды 25°С, чтобы температура р-n -переходов удерживалась в безопасных пределах). Таким образом, стабилизатор на 5 В с напряжением на входе + 15 В не может давать ток нагрузки больше 80 мА. Чтобы обеспечить большие токи нагрузки, нужно применять внешние проходные транзисторы. Подключим внешний проходной транзистор так, чтобы он образовал со встроенным транзистором пару Дарлингтона (рис. 6.5). Транзистор Т1 - внешний проходной транзистор; он должен быть снабжен радиатором - чаще всего это ребристая металлическая пластина - для отвода тепла (можно и по - другому: поместить транзистор на одной из стенок металлического корпуса блока питания). С вопросами теплового режима мы будем иметь дело в следующем разделе. Построечный потенциометр применен для точного выставления + 5 В на выходе; диапазон подстройки должен быть достаточным для компенсации допуска на сопротивления резисторов, а также производственного разброса Uоп (рассматривается наихудший случай). В данном случае диапазон настройки выходного напряжения находится в пределах ± 1 В от номинала. Заметьте, что для получения тока нагрузки 2 А или около этого необходим мощный токоограничивающий резистор с низким сопротивлением.
Падение напряжения на проходном транзисторе. Одна из проблем при построении этой схемы - большое рассеяние мощности на проходном транзисторе (по крайней мере 10 Вт при полном токе нагрузки) Этого не избежать, если ИМС стабилизатора питается от нестабилизированного источника, поскольку в этом случае ему нужен «запас сверху» в несколько вольт (определяемый минимальным падением напряжения) Если использовать для ИМС 723 отдельный слаботочный источник питания (например, + 12 В), то минимум нестабилизированного напряжения питания на внешнем проходном транзисторе может всего лишь на 1 В превышать стабилизированное напряжение на выходе, но лучше все же иметь запас хоть несколько вольт, так как в жестких условиях эксплуатации требуется нормальная работа даже при 20%-ном снижении напряжения в сети переменного тока.
Защита нагрузки по напряжению. В схеме рис. 6 5 предусмотрена также защита нагрузки от слишком больших напряжений, состоящая из Д1, и Т2 и резистора 33 Ом. Назначение этой схемы - заворачивать выход, если из-за какой-либо неисправности стабилизатора выходное напряжение последнего выше 6,2 В (это может случиться, если отключится один из вводов резисторов делителя или откажет какой-нибудь элемент схемы 723). Т2 - это КУВ (кремниевый управляемый выпрямитель, тиристор) - прибор, ток в котором нормально отсутствует до тех пор, пока переход управляющий электрод - катод не получит прямое смещение. После этого прибор включается (входит в насыщение), и, однажды включившись, не выключится, пока анодный ток не будет прерван извне. В нашем случае через управляющий электрод пройдет ток, если выходное напряжение окажется больше напряжения стабилитрона Д1 плюс перепад на p-n - переходе. Когда это произойдет, в стабилизаторе включится схема ограничения тока и КУВ будет удерживать выходное напряжение около уровня земли. Если неисправность, приведшая к ненормальному повышению выходного напряжения, к тому же вывела из строя токоограничивающую схему (например, у транзистора Т1 замкнулся коллектор на эмиттер), то схема зашиты будет отбирать очень большой ток. Поэтому где-нибудь в цепи питания надо поставить плавкий предохранитель, как показано на схеме. Подробнее схемы защиты от превышения напряжений рассмотрены в разд. 6.06.

Рис. 6.5. Стабилизатор на +5 В с внешними проходным транзистором и зашитой.
Проектирование теплоотвода мощных схем