Cтабилизаторы напряжения и источники питания
Проектирование теплоотвода мощных схем
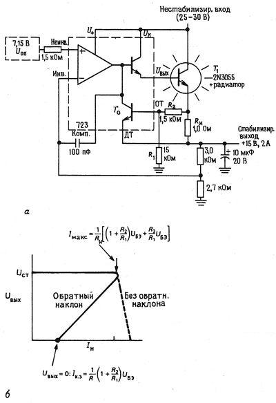
6.05. Ограничители тока с обратным наклоном характеристики
Для стабилизатора с простым ограничением тока рассеяние мощности на транзисторе будет максимальным, если выход закорочен на землю (случайно или из-за нарушения нормального функционирования схемы), и эта мощность рассеяния обычно превосходит мощность при номинальной нагрузке. Например, проходной транзистор в рассмотренном нами стабилизаторе, дающем 4 - 5 В при токе 2 А, будет при закороченном выходе рассеивать мощность 30 Вт (на входе +15 В, ток 2 А), а при номинальной нагрузке - 20 Вт в худшем случае (перепад напряжений 10 В при токе 2 А). Еще хуже обстоит дело для схем, в которых напряжение, падающее на проходном транзисторе, представляет собой небольшую часть выходного напряжения. Например, в стабилизаторе, дающем + 15 В при 2 А от нестабилизированного питания + 25 В, рассеиваемая мощность изменяется от 20 Вт (на полной нагрузке) до 50 Вт (при коротком замыкании).
С аналогичной проблемой мы сталкиваемся при работе с пушпульными усилителями мощности. При нормальных условиях мы имеем максимальный ток нагрузки при минимальном напряжении на транзисторе (амплитуда выходного сигнала около максимальной), и, наоборот, при значении тока нагрузки, близком к нулю (нулевое напряжение на выходе), напряжение на транзисторе будет максимальным. В случае короткого замыкания мы имеем максимальный ток нагрузки в самый неподходящий момент, а именно при напряжении на транзисторе, равном полному напряжению питания. В результате мощность рассеяния на транзисторе намного превышает нормальную.
Лобовое решение этой проблемы - применение массивных радиаторов и транзисторов с большой расчетной мощностью, работающих в далекой от опасной области характеристик (см. разд. 6.07). Но даже и в этом случае нехорошо, что в аварийных условиях в схеме будет протекать слишком большой ток, поскольку могут выйти из строя другие элементы. Лучше применить метод ограничения с обратным наклоном токовой нагрузочной характеристики, при которой выходной ток уменьшается в условиях короткого замыкания или перегрузки. Идея метода видна из схемы рис. 6.7 - опять же на примере стабилизатора 723 с внешним проходные транзистором.

Рис. 6.7. Мощный стабилизатор, снабженный схемой ограничения тока с обратным наклоном характеристики, а - схема; б - зависимость выходного напряжения от тока нагрузки. Iмакс/Iк.з = 1 + [R2/(R1 + R2)]Uст/Uбэ.
Делитель в цепи базы транзистора Т0 обеспечивает обратный наклон характеристики при коротком замыкании. При нормальном значении напряжения выхода + 15 В ток в схеме ограничен величиной порядка 2 А так как напряжение на базе транзистора Т0 равно +15,5 В, а на эмиттере + 15 В (при повышенной температуре, при которой чип стабилизатора обычно работает, ГУБЭ равно ~ 0,5 В). Ток короткого замыкания будет меньше; при выходе, замкнутом на землю, выходной ток будет - 0 5 А, а рассеиваемая на транзисторе Т1 мощность будет меньше, чем при полной нагрузке. Это очень хорошо, так как нет необходимости проектировать теплоотвод с запасом, достаточно его рассчитать только для случая полной нагрузки. Величина тока короткого замыкания при заданном токе полной нагрузки определяется выбором номиналов резисторов токоограничивающей схемы. Предупреждение: будьте осторожны при выборе значения тока короткого замыкания! Если переусердствовать, то можно построить источник питания, который «не запустится» на номинальную нагрузку. Ток короткого замыкания не должен быть стишком малым: приблизительно одна треть тока максимальной нагрузки при полном выходном напряжении.
Упражнение 6.3. Спроектируйте стабилизатор с внешним проходным транзистором и обратным наклоном характеристики при коротком замыкании, который даст ток 1 А при стабилизированном напряжении на выходе
+ 5 В и всего лишь 0,4 А при коротком замыкании выхода.
Нестабилизированные источники питания